第5章 配管ダクト経路の自動設計
5.1 はじめに
BIMは建築工程における合意形成や干渉確認等を容易にする効果があるとされ、普及が進みつつある。しかし、BIMがさらに普及するには解決すべき課題が多くあるとされ、例えば、設備モデルの作成に関して、下記のような課題がある。
| ・ |
入力作業に、より多くの費用や時間がかかる。 |
| ・ |
入力作業には欠落、重複、誤認等が起こる。また、個人の技量の差によって出来栄えに差が生じる。その結果、データを利用する際には確認が必要になる。 |
これらの課題を改善する一つの方法として、入力における自動化、即ちソフトによる支援を進めることが考えられる。
第4章の表4.1には電算機応用分野として「自動作図」が示されている。これは後年、CADとして実現したともいえる。特に空調・衛生設備CADにおいては、例えば、ダクト・配管部材を移動させるとこれに接続する他の部材が自動的に移動するような機能が2000年頃に実現されたことから、「自動作図」と呼ぶこともできなくはない。しかし、「自動作図」を言葉通りに捉えれば、現在の自動化の機能が十分と言えないことは明らかであり、更なる自動化を考える必要がある。
「自動作図」は図面を作成することを意味しているが、BIMを想定すれば、まずBIMの自動作成があり、次にBIMからの図面の自動作成がある。本章ではBIMの自動作成について述べるが、BIMからの図面の自動作成についても触れておく。
現在、BIMから図面を作成する取り組みが盛んに行われている。実際、そのような機能を持つソフトもある。しかし、BIMから図面を作成する際には、多くの情報を付加する必要がある。その理由は、BIMには図面で必要とされる情報の全てが含まれるわけではないためである。例えば、代表的な図面である施工図には作業指示の用途があり、部材の寄り寸法や注記の情報が必要であるが、現在のBIMの主たる用途は干渉確認であるため、このような情報は一般的には含まれない。そのため、BIMの用途として作業指示が想定され、必要とされる情報が定義され、これらが実際に含まれて初めて、BIMからの図面の自動作成が可能になる。これを図5.1に示す。
図5.1 BIMと図面の情報の包含関係
BIMの自動作成と、BIMからの図面の自動作成を区分することにより、BIMの自動作成への取り組みが容易になる。その理由は、寸法や注記は形状や位置の自由度が高く、一意に決めることが難しいためである。また、将来、自動化施工が実現すれば、図面の重要性は現在よりも低下する可能性もある。3次元プリンタを想像すれば、容易に理解される。
設備モデルの作成は、負荷計算、機器選定、機器配置、経路選定、経路配置等からなる。このうち、負荷計算では空調熱負荷計算や流量計算がなされ、機器選定では機器容量や台数が計算され、経路選定では経路寸法が計算される。これらの計算方法は既に明確化されているため、自動化が可能である。しかし、経路配置、即ち、例えば、ダクトや配管の位置の計算方法は未だ明確化されていない。そこで筆者らは、空調・衛生配管の自動経路配置手法の開発を行った1)。本章ではその結果を述べる。
| 1) |
三木秀樹, 向来信: 空衛分野における自動経路探索の調査と試行, (社)空気調和・衛生工学会 2014年度大会 学術講演会講演論文集, 第5巻, pp.97-100, 2014.9 |
5.2 既往の研究
機械室における空調機器配置及び配管経路配置の自動化が報告されている2)3)。
| 2) |
中村真ほか: 機械室設備の設計図・施工図自動作成に関する研究(その1)−対話型進化的計算による機器配置支援, (社)空気調和・衛生工学会, 学術講演会講演論文集, 2000.9 |
| 3) |
中村真ほか: 機械室設備の設計図・施工図自動作成に関する研究(その2)−最適配管経路決定アルゴリズム, (社)空気調和・衛生工学会, 学術講演会講演論文集, 2001.9 |
本報告では、下記が示されている。
| ・ |
複数の機器及び配管が対象とされている。 |
| ・ |
遺伝的アルゴリズム(文中では進化的計算と表記)の採用により、計算時間が実用的な範囲に納められている。 |
| ・ |
見栄えや保守管理の容易性が考慮されている。 |
しかし、本報告は今から10年以上も前になされ、また、その後にハードやソフトが著しく進歩したにもかかわらず、未だ一般化していない。関係者への聞き取りによれば、その理由は、計算条件の入力の煩雑さのためとされている。
また、造船の分野でも、配管経路配置の自動化が報告されている4)5)。
| 4) |
木村 元, 池平 怜史, 池崎 英介, 梶原 宏之: 多目的遺伝的アルゴリズムを用いた配管設計, 計測自動制御学会 第32回知能システムシンポジウム, pp.187-192, 2005 |
| 5) |
安藤 悠人, 木村 元: エルボおよびベンドを考慮した配管設計アルゴリズム, 日本船舶海洋工学会, 論文集, vol.15, pp.219-226, 2012 |
本報告では、下記が示されている。
| ・ |
複数の配管が対象とされている。 |
| ・ |
空間の差分化により、配管同士及び配管と障害物との干渉確認が行われている。 |
| ・ |
配管経路の評価において、正と負の評価により、意図される配管経路が誘導されている。 |
しかし、本報告では、配管の分岐が考慮されていない。配管は一つの始点に対して一つの終点を持つものとされている。木村への聞き取りによれば、その理由は、分岐は経路配置においてではなく機器配置において検討されるべきとされているためである。また、本報告では、空調・衛生設備業界では一般的な、既製品の継手の使用は考慮されていない。同じくその理由は、造船業界では、継手を加工することが一般的なためである。さらに、本報告では、建築で言えば躯体に相当する船殻の情報も利用されていない。同じくその理由は、造船業界では、製造に関わる情報が漏洩すれば、同じものを容易に製造できてしまうため、情報の管理が建築業界に比べて厳しいためである。併せて、造船業界は元請と下請の関係が固定化しているため、建設業界のように不特定な関係者でもデータを共有できるBIMのような仕組みが必要とされないためである。
以上のように、空調・衛生配管における自動経路配置手法は未だ改善の余地がある。
5.3 目的及び方針
建築設備における経路配置の自動化が実現すれば、設備モデルの作成が劇的に早く正確にできると期待されるが、未だ実現されていない。
そのため、本章では、空調・衛生配管の自動経路配置手法を開発することを目的とし、下記を方針とした。
| ・ |
木村の研究で示されている、空間の差分化による干渉確認の手法を利用することにより、基礎的な自動経路配置手法を確認する。 |
| ・ |
配管の分岐を考慮する。 |
| ・ |
既製品の継手の使用を考慮する。 |
| ・ |
計算条件のうち、建物形状等をBIMの建築モデルから取得するものとし、その連携方法を検討する。 |
5.4 自動経路配置手法に関する課題及び開発
5.4.1 自動化の基礎
(1) 空間の差分化による干渉確認
経路配置の自動化を検討する上で、最も重要な技術の一つは、建築・設備部材間及び設備部材相互間の干渉確認方法である。
物体と物体の干渉確認方法としては、例えば、物体を構成する面同士の交差を確認する方法がある。しかし、この方法は幾何計算を伴うため複雑であり、面数が多くなると、計算時間が実用的な範囲に収まらなくなるおそれがある。また、片方の物体が他方の物体に内包される場合には、面同士の交差が生じないため、干渉を判定できないという問題もある。
これに対して、物体同士の干渉確認方法として、空間を小要素に細分化し、各要素内に物体が存在するか否かにより干渉を判定する方法がある。各要素内に物体が存在する場合は、物体を特定できるタグやラベルを要素に記録することにより、要素に二つ以上の物体が存在すれば干渉と判定でき、また、既に物体が存在する要素は障害物として経路の候補から除外することもできる。この方法は計算が比較的簡単である。
空調・衛生設備において、空間を差分化する際の要素の寸法は、実用的な精度を確保するには100mm程度まで細かくする必要がある。仮に空間の巾が10m、奥行きが10m、高さが3mとすれば、要素数は30万になる。これは小さくない値であるが、例えば、気流計算(CFD)の要素数と比較して特別に大きいとはいえない6)。また、現在はコンピュータネットワークをベースにクラウド化が進んでおり、高性能なサーバーの資源を容易に利用できる環境が整いつつある。サーバーとしてスーパーコンピュータを想定すれば、現在、国内最高水準の「京(けい)」は1秒に1京回の浮動小数点演算ができる性能注1)を達成しており、これは一般的なPCの1万〜10万倍の性能とされる7)。仮に10万倍とすると、「京」における1秒の計算は、一般的なPCでは1日(86400秒)以上の計算に相当する。そのため、一般的なPCを利用して、計算時間が数時間程度に収まることを確認できれば、高性能なサーバーの資源を利用した場合は、計算時間が十分に実用的な水準になると考えられる。
(2) 配管の分岐
一つの始点に対して複数の終点がある場合は分岐が生じる。空調・衛生配管では、分岐は極めて一般的であるため、自動化において、分岐を考慮することが必要である。
分岐位置は事前に設定するのではなく、経路配置の中で自動的に計算されることが望ましい。
また、分岐位置が決まれば、終点に流量を与えることにより、始点・分岐点・終点の各区間の流量と長さが求まり、経路の管径の計算、即ち経路選定の自動化にもつながる。
(3) 既製品の継手の使用
既製品の継手としては、分岐部分のためのチーズ(片分岐)及びクロス(両分岐)、曲がり部分のためのエルボ、異径部分のためのレジューサ及びニップル等がある。
例えばチーズであれば、3方向の接続部の管径及び中心から各接続部までの距離を定義しておけば、経路上の分岐部分の位置、方向、管径をもとに、配置できる。また、外径と内径を定義しておけば、形状を作成できる。
また、既製品の管についても、管径ごとに外径と内径を定義しておけば、形状を作成できる。また、管径ごとに許容流量を定義しておけば、経路の流量から管径を選定できる。
(4) BIMとの連携
経路探索をBIMと連携させることにより、計算条件の入力を簡便にできる。特に実務での利用を想定すると、設計途中あるいは施工途中には建築モデルは頻繁に変更されるため、計算条件の入力を簡便にできれば、入力の手間を大幅に軽減できる。
BIMでは建築部材は通常、3次元形状と属性を持つ。BIMから建築部材の3次元形状を抽出することにより、上記の干渉確認方法において、空間の小要素に建築部材の存在の有無を設定できる。また、建築部材の属性を抽出し部材の種類を判別することにより、例えば柱のように設備部材が貫通できないものと、梁・壁・床のように貫通できるものとを判別できる。また、貫通できるものについても、例えば、梁のように貫通できる位置が中央部に制限される場合があるが、3次元形状と属性の両方を判別することにより、貫通の可否を判別できる。意匠側において、例えば、壁や窓の熱貫流率の入力は期待できないが、壁や窓自体を区分する入力は期待できる。
5.4.2 経路配置ソフトの開発
(1) 2次元空間
一つの例として、図5.1Aのような東西方向及び南北方向に広がる2次元空間を想定する。
図5.1A 2次元空間の例
図において、空間は東西方向に10、南北方向に10の小要素に分割され、北西隅に始点(Startを略したSで表記)、南東隅に終点(Endを略したEで表記)が配置されている。
図において、始点から終点に至る経路は無数に存在するが、長さが最も短い経路は、始点から東方向に9、南方向に9移動し、西方向と北方向には移動しない経路である。これはマンハッタン距離を与える経路として知られ、経路1及び経路2も該当する。
始点から終点に至る経路の表現方法として、例えば、移動方向を列記する方法が考えられる。東方向への移動を「E」、南方向への移動を「S」で表現すると、図において、経路1は「EEEEEEEEESSSSSSSSS」のように、また、経路2は「SSSEESSEESSEESSEEE」のように表現できる。即ち「E」「S」を所定の数だけ組み合わせることにより、全ての経路を表現できる。
「E」「S」を所定の数だけ組み合わせることにより、全ての経路を求めるフローを図5.2に示す8)。
| 8) |
小倉ほか: 人工知能システムの構成, 近代科学社, 2001.4 |
図5.2 経路を求めるフロー
経路の数は、式5.1で計算される。
式5.1経路の数
| 経路の数[個]=m!/(n1!×n2!・・) |
| |
m |
: |
経路長さ |
| |
ni |
: |
方向別の経路長さ(i=1〜) |
式において、要素の数が増えると、表5.1に示すように経路の数は急激に増える。
表5.1 経路の数
| 方向数 |
経路長さ |
| 8 |
16 |
32 |
64 |
| 2 |
70 |
12870 |
601080390 |
1.83262E+18 |
| 3 |
5040 |
- |
- |
9.17874E+84 |
表において、各方向別の長さは等しいとしている。
経路の数が著しく多数となる場合、高性能なサーバーを利用しても、処理が困難になることも想定される。その場合は、経路の数を減らすため、要素寸法をある程度大きくせざるを得ない。要素を大きくすると、要素内に二つ以上の物体が存在しても、必ずしも干渉しない場合がありうる。したがって、大きな要素で1次の干渉確認を行い、干渉が疑われる場合に、より小さな要素で2次の干渉確認を行うことにより、精度と計算時間をバランスすることが考えられる。
なお、経路の数が多数の場合、移動方向を列記する方法は、例えば、経路を座標で表現する方法に比べて、データ量を少なくできる利点がある。
(2) 3次元空間
上記(1)の方法は3次元空間にも拡張できる。空間の分割は東西・南北方向に加え、上下方向にも行い、経路の表現には、例えば、「E」「S」等に加え、「U」や「D」を用いればよい。この場合も、図5.3及び式5.1を利用できる。
なお、実際の配管は、管内に流体が滞留することを防ぐため、原則として上がる場合は上がる方向のみ、下がる場合は下がる方向のみに移動する。ただし、これは、マンハッタン距離を与える経路内で曲がりの数を最小にする探索を行えば、自動的に満足される。
(3) 後戻り
上記(1)の方法は後戻りにも拡張できる。実際の経路は、マンハッタン距離を与える経路だけではない。例えば、梁巻きのように一部で後戻りをすることは多い。後戻りをする場合、経路の表現には、例えば東西方向であれば、「E」に加え、「W」を用いればよい。この場合も、図5.2及び式5.1を利用できる。
このとき、
| ・ |
例えば東西方向においては、逆方向である「E」と「W 」は連続しないこと |
| ・ |
空間範囲を逸脱しないこと |
を制限する必要がある。
5.4.3 経路の選択
(1) 評価基準
経路の候補が複数存在する場合は、それらを取捨選択するために評価基準が必要になる。評価基準は注目する側面によって多くが考えられる。究極は、
| ・ |
高品質であること |
| ・ |
低価格であること |
| ・ |
短納期であること |
であるが、まずは、客観的な評価が容易で、また、実務的にも妥当なものとして、
| ・ |
障害物にぶつからないこと、または障害物を貫通する回数が少ないこと |
| ・ |
長さが短いこと |
| ・ |
曲がりの数が少ないこと |
等が考えられる。この他にも、例えば、
| ・ |
配管勾配が保持されること |
| ・ |
作業空間が確保されること |
| ・ |
見栄えが良いこと |
等も考えられる。評価基準を増やすことにより、より妥当な解に近づく。
評価基準が複数の場合は、それぞれの評価基準に対する評価を求め、重み付けを与えて総合的な評価値とすることが考えられる。
(2) 選択の方法
例えば、評価基準として障害物にぶつからないことを採用すれば、経路に障害物がある場合には、候補から除外する。また、評価基準として長さが短いことや曲がりの数が少ないことを採用すれば、経路の長さや曲がりの数を求め、限度を超えれば除外する。なお、図5.1のようにマンハッタン距離を与える経路の場合で、かつ後戻りをしない場合には、長さは一定になるため、評価基準とする必要がない。
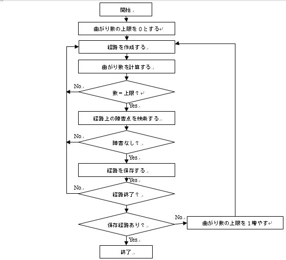
例えば、障害物と曲がりの数を評価基準として経路を選択する場合のフローを図5.3に示す。
図5.3 経路を選択するフロー
実際には、計算時間を短くするために、妥当でない経路を早めに除外する必要がある。即ち全経路を求めた後に選択するのではなく、経路を求める途中で順次選択することが望ましい。
5.5 開発結果及び確認
(1) 2次元空間
上記の検討をもとに、経路を配置するソフトをマイクロソフト社の表計算ソフトExcel2010上で実行できるVBAにより開発した。なお、本開発の計算環境は、CPUがIntel Core i5、560M、動作周波数が2.67GHz注2)、メモリが4GB、オペレーションシステムが32ビット版のWindows7である。この計算環境は、現在の水準において特に優れたものではない。
| 注2) |
約20gigaFlops = 20×109Flops、http://hwm2.spaaqs.ne.jp/skyline/cpu.htm |
2次元空間の場合の自動経路配置例を図5.4に示す。
図5.4 自動経路配置ソフト(2次元)
図において、計算条件は、空間要素数を東西方向に20及び南北方向に20、障害物数を全要素数の20%の80とした。障害物の位置は任意に入力が可能であるが、簡便のため乱数を発生させて決定した。また、計算時間は約3秒であった。計算時間は十分に短いが、全ての場合について保証されるものではない。その理由は、障害物の位置等により計算時間は変動するためである。例えば、曲がり数が非常に多くなる場合や、そもそも経路が存在しない場合もありうる。
また、図において、経路が障害物や経路自体と干渉することなく、また、最も曲がり数が少なく作成されていることを確認できる。
この例では、最小曲がり数の経路が3つ存在する。人の目でも瞬時にいくつかの経路を見つけられるが、最小曲がり数がいくつなのか、あるいは最小曲がり数の経路がいくつあるのか等を瞬時に見極めることは困難である。また、空間要素数がさらに増えた場合や3次元に拡張した場合には、人の目で見極めることはより困難になる。
また、本ソフトは、長さと曲がり数にそれぞれ評価基準を与えて合計することにより経路の評価値を算出しているため、評価値により経路の優劣を比較できる。しかし、評価値を人の目で算出することは困難であり、実際に行われていない。評価値のような客観的な尺度を判断材料にできなければ、科学的なアプローチはできない。経路配置において個人差が生じたり、経路配置の方法を熟年者から若年者に明確に伝承できなかったりするのは、科学的なアプローチによらず、勘や経験によることに原因があると考えられる。人の能力を否定するものではないが、経路配置においても、科学的手法が用いられることが期待される。
(2) 3次元空間
3次元に拡張した場合の自動経路配置例を図5.5に示す。
図5.5 自動経路配置ソフト(3次元)
計算条件は、空間要素数を東西方向に10、南北方向に10及び上下方向に3、即ち10×10×3、障害物数を全要素数の20%の60とした。計算時間は約1秒であった。
図において、3次元であっても、同様の手法で計算ができることを確認できる。
また、計算結果をより分かり易くするため、VRML注3)を併せて出力した。表示例を図5.6に示す。なお、表示にはCortona3D Viewer注4)を利用した。
| 注3) |
Virtual Reality Modeling Language |
| 注4) |
Parallel Graphics社 |
図5.6 自動経路配置例(3次元)
図において、障害物は濃い灰色の立方体で、また、経路は始点が青、終点が黄色、途中が赤の球で示されている。VRMLによる3次元的な表示により、経路を含む全体像がより直感的に理解される。
(3) 後戻り
後戻りをすると経路が長くなるため、まずは後戻りをしない条件で経路を探し、経路が見つからない場合に後戻りをするのが妥当である。
後戻り探索をする場合のフローを図5.7に示す。
図5.7 後戻りをする場合のフロー
後戻りに拡張した場合の自動経路配置例を図5.8に示す。
図5.8 自動経路配置例(後戻り)
計算条件は、空間要素数を10×10×3、障害物数を10とした。障害物は、後戻りが不可避となるよう意図的に配置されている。計算時間は約3分であった。最初に後戻りなしで、最小曲がり数0から最大曲がり数19までを計算するため、計算時間は増える。
図において、経路が終点付近で障害物を避けるために後戻りをしていることを確認できる。
(4) 配管の分岐
一つの始点に対して複数の終点がある場合、例えば始点から個々の終点への経路を求め、それらを重ねることにより、全体の経路を求めることが考えられる。
分岐に拡張した場合の自動経路配置例を図5.9に示す。
図5.9 自動経路配置例(配管の分岐)
計算条件は、空間要素数を10×10×3、終点数を3とした。計算時間は約30秒であった。
図において、経路が複数の終点をほぼ妥当に結んでいることを確認できる。
この例では、各終点の重心を通るように経路を求めた。しかし、この例よりも経路長さが短い経路が存在する。この例では経路長さは25であるが、最短の経路長さは23である。そのため、計算方法を改善する余地がある。
分岐がある場合、全体の経路長さを短くするには、経路の重なりの度合いを高くすることが考えられる。そのため、経路評価として、重なりの度合いを指標とすることが考えられる。
一つの指標として、例えば、式5.2が考えられる。
式5.2重なりの度合いの指標
| R[%]=((A-B)/A)×100 |
| |
R |
: |
重なりの度合いを示す指標 |
| |
A |
: |
始点から個々の終点への経路の長さの合計 |
| |
B |
: |
経路が重ならない部分の長さの合計 |
Rが大きいほど、重なりの度合いは高くなる。この例では、Aは16+19+20=55、Bは2+3+4=9であるため、Rは84%と評価できる。客観的な評価基準ができれば、経路選択の基準として利用することができる。
また、終点に流量を与え、経路が重ならない部分には、終点が持つ流量を設定し、重なる部分にはそれぞれの終点が持つ流量を加算して設定することにより、各部の流量が設定でき、これらの流量から管径を計算できる。
(5)既成品の継手の使用
空調・衛生設備で用いられる管材には多くの種類があるが、本開発ではJIS G 3452で規定される配管用炭素鋼鋼管とそのねじ込み継手を選択した。その理由は、配管用炭素鋼鋼管とねじ込み継手は、空調設備の冷温水管や冷却水管、蒸気管、油管、衛生設備の給水管や通気管、消火管等多くの用途で使用され、最も一般的であると共に、配管用炭素鋼鋼管以外の硬質塩化ビニルライニング鋼管やポリエチレン被覆鋼管なども原管として配管用炭素鋼鋼管を使用しているためである。
管については呼び径に対する外径・内径・許容流量を表5.2のように登録した。また、継手については、チーズ、クロス、エルボ、レジューサ及びニップルの、呼び径に対する外径・内径・中心から接続面までの距離を表5.3のように登録した。一方、いわゆる黒管・白管等と区別される表面処理は形状に無関係であるため、登録していない。配管用炭素鋼鋼管とねじ込み継手以外の管や継手についても、登録を増やすことにより対応できる。
表5.2 管の登録
表5.3 継手の登録
既成品の管・継手を使用した場合の自動経路配置例を図5.9Aに示す。
図5.9A 自動経路配置例(既製品の管・継手の使用)
計算条件は、空間要素数を10×10×3、障害物数を20、終点数を2とした。計算時間は約10秒であった。
図において、曲がり部分にはエルボ、分岐部分にはチーズ、異径部分にはニップル及びレジューサ等が配置されていることを確認できる。管や継手はほぼ実寸法で作成されているため、現実感がより高いことを確認できる。計算が完了すると、管の呼び径や長さ、継手の種類等が確定するため、部材の集計ができる。また、材料費や労務費を設定すれば、費用の集計もできる。部材が機械的に作成されるため、ヒューマンエラーによる間違いが生じるおそれがない。
別の自動経路配置例を図5.10に示す。
図5.10 自動経路配置例(既製品の管・継手の使用)
計算条件は、空間要素数を10×10×3、障害物数を0、終点数を9とした。計算時間は約5分であった。終点数が増えると計算時間は加速度的に増える。
図において、分岐部分にはクロスも配置されていることを確認できる。また、終点が分散する場合でも、妥当な経路が作成されていることを確認できる。この例のような形態の終点の配置は空調設備におけるエアコンの冷媒配管やファンコイルユニットの冷温水配管、消火設備におけるスプリンクラー配管等でしばしば生じる。
また、本例の結果をIFCで出力したものを図5.11に示す。配管のクラスはIfcFlowSegment、継手のクラスはIfcFlowFittingとした。形状は面で表現し、属性は「設備IFCデータ利用標準」を付加した。なお、表示にはSolibri Model Viewer注5)を用いた。
| 注5) |
Solibri社, Solibri Model Viewer 9.0 |
図5.11 自動経路配置例のIFC出力
図において、図5.10と同様の形状が表示されていることを確認できる。
(6)BIMとの連携
BIMとの連携を想定し、BIMから建築モデルを取得し、計算条件のうち、空間要素と障害物を取得するソフトを同じくマイクロソフト社の表計算ソフトExcel2010上で実行できるVBAにより開発した。
入力画面を図5.12に示す。
図5.12 BIM連携ソフト
図において、対象とする建築モデルのIFCファイル、空間要素の寸法、また、設備が外壁面に設置される場合を想定して、対象に含める周囲空間等を設定する。
情報を取得する建築モデルを図5.13に示す。建築モデルの作成には第4章で開発した建築モデルの簡易作成ソフトを利用した。
図5.13 建築モデル
図において、対象とした建築モデルは小規模ではあるが、柱、梁、床、壁等の基本的な建築部材を含んでいることが分かる。
建築モデルに空間要素を設定した結果を図5.14に示す。
図5.14 空間要素の設定
図において、建築部材の形状が読み込まれ、空間要素が加えられていることを確認できる。
また、上下方向に切り出された空間要素を図5.15に示す。
図5.15 空間要素計算例
図において、上下方向の19番目の層の水平方向の空間要素が示されている。建築モデル及び周囲空間が指定された寸法で空間要素に分割されると共に、建築モデルから取得された建築部材のうち、柱は貫通できない障害物として、梁は貫通できる障害物として要素に設定されていることを確認できる。
図において示される躯体形状は、図5.4や図5.5に示される経路配置ソフトの入力画面における躯体形状と同様である。そのため、上記の経路配置へ連携できる。
5.6 考察
(1)複数配管への拡張
複数配管を扱う場合には、ある経路を求めた後、これを障害物として設定し、次の経路を求めることが考えられる。
複数配管へ拡張した場合の自動経路配置例を図5.15Aに示す
図5.15A 自動経路配置例(複数配管)
計算条件は、要素数を10×10×3、障害物数を60(貫通不可のものと貫通可能なものを各30)、経路数を3とした。計算時間は約1分であった。
図において、複数の経路が障害物や経路自体と干渉することなく作成されていることを確認できる。
なお、複数配管を扱う場合、経路を計算する順序によって計算された経路が変わりうる、即ち最適な経路を一意に決定できないという問題がある。この問題に対して、木村の報告では、タッチアンドクロス法(最初に全ての配管の最適経路を求めた後に、順次、干渉部分を改善していく手法)や焼きなまし法(解空間におけるパラメータと解が単純増加または単純減少でない(山と谷が複数ある)場合に、最適解を探す手法)の適用が示されている。しかし、これらの手法を適用すれば計算時間が増大するため、実用的な範囲を超えるおそれがある。
空調・衛生配管において、通常、個々の配管の優先度は同じではない。例えば、給水管と排水管がある場合、曲がり数や経路長さを最小にする必要性の違い、配管勾配を保持する必要性の違い、配管の太さの違い等から、排水管を給水管より優先する。即ち、配管の優先度が自明であれば、優先度の順に経路配置を行うことにより計算時間を抑制するという考え方にも、十分な妥当性がある。
(2)機器配置への拡張
空間を差分化し経路配置を求める方法は、機器配置にも応用できる。例えば、天井面への制気口の配置において、天井内の梁、制気口に優先して配置された照明器具、順次配置される制気口自体を障害物とし、干渉を避けることが考えられる。また、機械室への空調・衛生機器の配置においても同様である。
5.7 まとめ
建築設備における経路配置の自動化が実現すれば、設備モデルの作成が劇的に早く正確にできると期待されるが、未だ実現されていない。そのため、本章では、空調・衛生配管の自動経路配置手法の開発について述べた。
具体的には、
| ・ |
空間の差分化による干渉確認の手法を建築設備に適用し、基礎的な自動経路配置手法、即ち2次元空間、3次元空間、後戻りを確認した。 |
| ・ |
配管の分岐への適用を示した。 |
| ・ |
既製品の継手の使用への適用を示した。 |
| ・ |
計算条件のうち、建物形状等をBIMの建築モデルから取得するものとし、その連携方法を示した。 |
また、本章において、経路配置及び経路選定の自動化が原理的に可能であるだけでなく、計算時間も妥当なことから、クラウドを利用すれば実用的にも可能であることを示した。これにより、設備モデルの作成を劇的に省力化しうる可能性を示した。
将来は、負荷計算、機器選定、機器配置等の自動化と合わせ、設計における一体的な自動化も考えられる。これにより、
| ・ |
意匠技術者が建築モデルを考えた段階で、設備モデルが自動的に作成され、同時に積算や環境負荷計算等が行われることにより、建築モデルの妥当性が客観的に評価されるようになること。 |
| ・ |
設備技術者は労働集約的な設備モデルの作成から、知識集約的な設備モデルを作成するルールの作成に移行できること。 |
等も期待される。
将来的には国内市場が減少する一方で、国際市場はますます増加すると予測される。しかし、労働集約的な事業形態のままでは、先進国に比べて人件費が安価な新興国や中進国との競争には勝てない。設計における自動化と施工における自動化を合わせて進め、知識集約的な事業形態への移行を図ることが、国際的に強力な競争力を得る一つの方法である。これにより、日本の建設業がさらなる発展を遂げることが期待される。
なお、本開発は経路長さや曲がり数等の比較的単純な評価基準を採用したが、今後は、より多くの評価基準の適用を進めていくことが必要と考える。また、実際の配管経路と計算による配管経路の比較も必要と考える。
追記(2020/4/30)
5.4、5.5に経路の計算方法を示したが、ダイクストラ法を用いることにより、計算速度が向上するとともに、後戻りがある場合も特別な処理が不要になる。